Расходомер воздуха предназначен для подачи информации о количества воздуха, поступающего в цилиндры двигателя внутреннего сгорания на ЭБУ. Эти устройства условно делят на несколько типов — механические, пленочные (термоанемометрические и диафрагменные), датчики давления. Первый тип считается устаревшим и используется редко, остальные же более распространены. Существует ряд типовых признаков и причин, по которым расходомер полностью или частично выходит из строя. Далее мы с вами рассмотрим их, а также поговорим о том, как выполнить проверку, ремонт или замену расходомера.

Что такое расходомер
Как указывалось выше, расходомеры предназначены для указания объема и регулировки потребляемого двигателем воздуха. Перед тем как перейти к описанию принципа их работы, необходимо коснуться вопроса типов. Ведь именно от этого и будет зависеть его работа.
Типы расходомеров

Внешний вид расходомера
Самые первые модели были механическими и устанавливались на следующие системы впрыска топлива:
- распределенный впрыск Jetronic;
- объединенная система электронного впрыска и электронного зажигания Motronic;
- K-Jetronic;
- KE-Jetronic;
- L-Jetronic.
В корпусе механического расходомера расположены демпфирующая камера, измерительная заслонка, возвратная пружина, демпфирующая заслонка, потенциометр, а также байпас (обводной канал) с настраиваемым регулятором.
Кроме механических расходомеров также существуют следующие типы более продвинутых приборов:
- расходомер с нагреваемой нитью;
- расходомер с пленочным термоанемометром;
- расходомер с толстостенной диафрагмой;
- датчик давления воздуха в коллекторе.
Далее рассмотрим принцип работы перечисленных устройств.
Принцип работы расходомера

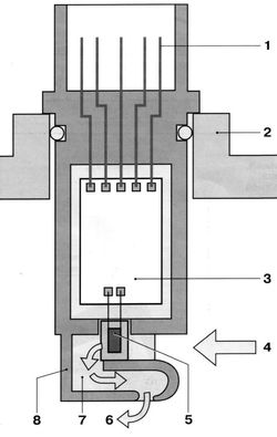
Схема механического расходомера. 1 – подача напряжения от электронного блока управления; 2 – датчик температуры поступающего воздуха; 3 – подвод воздуха от воздушного фильтра; 4 – спиральная пружина; 5 – демпфирующая камера; 6 – заслонка демпфирующей камеры; 7 – подача воздуха к дроссельной заслонке; 8 – заслонка напора воздуха; 9 – обводной канал; 10 – потенциометр
Начнем с механического расходомера. Его принцип действия основан на том, насколько переместится измерительная заслонка в зависимости от пропускаемого ею объема воздуха. На одной оси с измерительной заслонкой имеются также демпфирующая заслонка и потенциометр (регулируемый делитель напряжения). Последний выполнен в виде электронной схемы с напаянными резисторными дорожками. В процессе поворота заслонки ползунок перемещается по ним, и таким образом меняется сопротивление. Соответственно, напряжение, которое передает потенциометр измеряется в соответствии с положительной обратной связью, и передается на электронный блок управления. Чтобы корректировать работу потенциометра в его схему также включают датчик температуры всасываемого воздуха.
Однако механические расходомеры в настоящее время считаются устаревшими, поскольку им на смену пришли их электронные аналоги. Они не имеют подвижных механических частей, поэтому более надежны, дают более точный результат, а также их работа не зависит от температуры всасываемого воздуха.
Другое название таких расходомеров — датчик массового расхода воздуха. В свою очередь они делятся на два типа в зависимости от используемого чувствительного элемента:
- проволочный (Hot Wire MAF Sensor);
- пленочный (Hot Film Air Flow Sensor, HFM).

Расходомер воздуха с проволочным нагревательным элементом (нитью). 1 – температурный датчик; 2 – кольцо датчика с проволочным нагревательным элементом; 3 – прецизионный реостат; Qм – массовый расход воздуха в единицу времени
В основе работы устройств первого типа лежит использование нагреваемой нити из платины. Электрическая схема постоянно поддерживает нить в нагретом состоянии (платина выбрана из-за того, что металл обладает низким удельным сопротивлением, не окисляется и не поддается воздействию агрессивных химических факторов). Конструкцией предусмотрено, что проходящий воздух охлаждает ее поверхность. Электрическая схема имеет отрицательную обратную связь, в соответствии с которой по мере охлаждения нити на нее подается больший электрический ток с тем, чтобы поддерживать температуру на постоянном уровне.
Также в схеме имеется преобразователь, задача которого заключается в переводе значения меняющегося тока в разность потенциалов, то есть, напряжение. Между полученным значением напряжения и пропущенным объемом воздуха имеется нелинейная экспоненциальная зависимость. Точная формула запрограммирована в ЭБУ, и в соответствии с ней он принимает решение о том, какое количество воздуха нужно в тот или иной момент времени.
Конструкция проволочного расходомера подразумевает режим так называемой самоочистки. При этом платиновая нить разогревается до температуры +1000°С. В результате разогрева с ее поверхности испаряются различные химические элементы, в том числе пыль. Однако вследствии такого нагрева толщина нити постепенно уменьшается. Это приводит, во-первых, к погрешностям в показаниях датчика, а во-вторых, к постепенному износу самой нити.

Схема массового расходомера воздуха с пленочным термоанемометром. 1 — выводы электрического разъема, 2 — измерительный патрубок или корпус воздушного фильтра, 3 — вычислительный контур (гибридная схема), 4 — вход воздуха, 5 — чувствительный элемент датчика, 6 — выход воздуха, 7 — обводной канал, 8 — корпус датчика.
Теперь рассмотрим работу пленочного датчика массового расхода воздуха. Они бывают двух типов — с пленочным термоанемометром и на основе толстостенной диафрагмы. Начнем описание с первого.
Он является результатом эволюции проволочного расходомера, однако вместо проволоки в данном случае в качестве чувствительного элемента используется кристалл кремния, на поверхность которого напаяны несколько слоев платины, использующиеся в качестве резисторов. В частности:
- нагревательного резистора;
- двух термических резисторов;
- резистора датчика температуры всасываемого воздуха.
По аналогии с проволочным расходомером чувствительный элемент расположен в канале, через который проходит воздух. Он находится в постоянно подогретом состоянии благодаря использованию нагревательного резистора.
При попадании в канал воздух меняет свою температуру, что фиксируется с помощью установленных в двух концах канала терморезисторов. Разница в их показаниях на двух концах диафрагмы является разностью потенциалов, то есть, постоянным напряжением (в пределах от 0 до 5 В). Чаще всего этот аналоговый сигнал оцифровывается в виде электрических импульсов, которые передаются непосредственно на ЭБУ автомобиля.
Что касается второго типа пленочного расходомера, то они основываются на использовании толстостенной диафрагмы, расположенной на керамической основе.

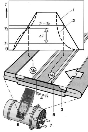
Принцип измерения массового расхода воздуха пленочным термоанемометром. 1 – температурная характеристика при отсутствии потока воздуха 2 – температурная характеристика при наличии потока воздуха; 3 – чувствительный элемент датчика; 4 – зона нагрева; 5 – диафрагма датчика; 6 – датчик с измерительным патрубком; 7 – поток воздуха; М1, М2 – точки измерения, Т1, Т2 – значения температуры в точках измерения M1 и М2; ΔT – перепад температур
Его активный датчик регистрирует изменения разрежения воздуха во впускном коллекторе, основываясь на деформации пленочной диафрагмы. При значительной деформации получается соответствующий купол диаметром 3...5 мм и высотой около 100 мкм. Внутри расположены пьезоэлектрические элементы, которые преобразуют механическое воздействие в электрические сигналы, которые в дальнейшем передаются на ЭБУ.
В современных машинах, которые используют электронное зажигание, используются датчики давления воздуха, которые считаются более технологичными, чем классические расходомеры, работающие по описанным выше схемам. Датчик расположен в коллекторе и определяет давление и нагрузку двигателя, а также количество рециркулируемых газов. В частности, он соединен с впускным коллектором при помощи вакуумного шланга. В коллекторе в процессе работы возникает разрежение, которое действует на мембрану датчика. Непосредственно на мембране находятся тензорезисторы, чье электрическое сопротивление меняется в зависимости от положения мембраны.
Алгоритм работы датчика состоит в сравнении атмосферного давления и давления на мембране. Чем оно больше, тем больше изменение сопротивления, а значит, и напряжения, подаваемого на ЭБУ. Питание датчика составляет 5 В постоянного тока, а управляющий сигнал — импульс с постоянным напряжением от 1 до 4,5 В (в первом случае это холостой ход двигателя, во втором — работа движка при максимальной нагрузке). Непосредственно ЭБУ вычисляет массовое количество воздуха, исходя еще и из плотности воздуха, его температуры, а также количества оборотов коленчатого вала.

Пленочный расходомер воздуха. 1 – измерительная цепь; 2 – диафрагма; 3 – камера эталонного давления; 4 – измерительный элементы; 5 – керамическая подложка
С помощью полученных данных электронный блок управления регулирует следующие параметры. Для бензиновых двигателей:
- момент впрыска топлива;
- его количество;
- момент инициации зажигания;
- алгоритм работы системы улавливания паров бензина.
Для дизелей:
- момент впрыска топлива;
- алгоритм работы системы рециркуляции отработанных газов.
Как видите, устройство датчика несложное, однако он выполняет ряд ключевых функций, без которых работа двигателей внутреннего сгорания была бы невозможна. Теперь перейдем к рассмотрению признаков и причин неисправностей этого узла.
Признаки и причины неисправностей
При частичном выходе расходомера из строя водитель заметить одну или несколько из перечисленных ниже ситуаций. В частности:
- не заводится двигатель;
- нестабильная работа (плавающие обороты) мотора в режиме холостого хода, вплоть до его отключения;
- снижаются динамические характеристики машины (при разгоне двигатель «проваливается» при нажатии на педаль акселератора);
- значительный перерасход топлива;
- на приборной доске светится контрольная лампа Check Engine.
Перечисленные признаки могут быть следствием и других неисправностей отдельных элементов двигателя, однако среди прочего необходимо проверить и работу расходомера воздуха. Теперь рассмотрим причины, по которым возникают описанные неисправности:

Восстановление расходомера
- Естественное старение и выход датчика из строя. Особенно это актуально для относительно старых машин, у которых установлен оригинальный расходомер.
- Перегрузка двигателя. Вследствии перегрева датчика и его отдельных элементов он может выдавать неверные данные для ЭБУ. Это возникает по причине того, что при значительном нагреве металла изменяется его электрическое сопротивление, а соответственно, и расчетные данные количества проходимого через устройство воздуха.
- Механическое повреждение расходомера. Оно может быть результатом различных действий. Например, повреждением при замене воздушного фильтра или других близко расположенных к нему узлов, нарушение контактов при установке и так далее.
- Попадание влаги внутрь корпуса. Причина достаточно редкая, но она может иметь место в случае, если в моторный отсек по каким-либо причинам попало большое количество воды. Из-за этого может произойти короткое замыкание в цепи датчика.
Как правило, расходомер не подлежит ремонту (за исключением механических образцов), и при его выходе из строя необходимо выполнить замену. Благо, стоит устройство недорого, а процесс демонтажа и установки не занимают много сил и времени. Однако перед тем как выполнить замену, необходимо провести диагностику датчика и попытаться почистить чувствительный элемент средством для очистки карбюраторов.
Как проверить расходомер воздуха
Процесс проверки расходомера воздуха несложен, и его можно выполнить несколькими методами. Рассмотрим их детальнее.
Отключение датчика
Самый простой метод — это отключение расходомера. Для этого необходимо при отключенном двигателе отсоединить питающий провод, подходящий к датчику (как правило, красно-черный). После этого запустить двигатель и проехаться на машине. Если на приборной панели засветилась контрольная лампа Check Engine, холостые обороты превысили 1500 об/мин, а динамика машины улучшилась, значит, с большой долей вероятности можно утверждать, что ваш ДМРВ неисправен. Однако рекомендуем вам выполнить дополнительную диагностику.
Проверка с помощью сканера
Еще один метод диагностики — с помощью специального сканера выявления ошибок в системах автомобиля. В настоящее время существует большое разнообразие таких устройств. Более профессиональные модели используются на СТО или в сервисных центрах. Однако для рядового автовладельца есть более простое решение.
Оно заключается в установке специального программного обеспечения на смартфон или планшет с операционной системой Android. С помощью кабеля и адаптера гаджет подключается к ЭБУ автомобиля, а упомянутая программа позволяет получить информацию о коде ошибок. Чтобы их расшифровать необходимо воспользоваться справочной литературой.
Популярные адаптеры:

Адаптер ELM327
- K-Line 409.1;
- ELM327;
- OP-COM.
Что касается программного обеспечения, то чаще всего автовладельцы пользуются следующим ПО:
- Torque Pro;
- OBD Авто Доктор;
- ScanMaster Lite;
- BMWhat.
Коды наиболее распространенных ошибок:
- P0100 — цепь датчика массового или объемного расхода воздуха;
- P0102 — низкий уровень сигнала на входе цепи датчика массового или объемного расхода воздуха;
- P0103 — высокий уровень сигнала на входе цепи датчика массового или объемного расхода воздуха.
С помощью перечисленных аппаратных и программных средств вы сможете не только выполнить поиск ошибки расходомера воздуха, но и провести дополнительные настройки для установленного датчика или других узлов автомобиля.
Проверка расходомера с помощью мультиметра

Проверка ДМРВ мультиметром
Также среди автолюбителей популярен способ проверки расходомера с помощью мультиметра. Поскольку в нашей стране наиболее популярным является ДМРВ BOSCH, то алгоритм проверки будет описан именно для него:
- Включить мультиметр в режим измерения постоянного напряжения (в английской аббревиатуре — DC). Установить такой верхний предел, чтобы прибор мог определять напряжение до 2 В.
- Запустить двигатель автомобиля и открыть капот.
- Отыскать непосредственно расходомер воздуха. Обычно он находится на корпусе воздушного фильтра или за ним.
- Красный щуп мультиметра необходимо подсоединить к желтому проводу на датчике, а черный — к зеленому.
- Если датчик исправен, то значение напряжения на экране мультиметра не должно превышать 1,05 В. Если же напряжение значительно выше — значит, датчик полностью или частично вышел из строя.
Приводим для вас таблицу, где указано значение полученного напряжения и состояние датчика.
| Значение напряжения, В | Состояние датчика |
|---|---|
| 0,966...1,01 | Значение напряжение на новом ДМРВ |
| 1,01...1,02 | Хорошее состояние датчика |
| 1,02...1,03 | Среднее состояние |
| 1,03...1,04 | Ресурс датчика подходит к концу |
| 1,04...1,05 | Очень плохое состояние |
| Свыше 1,05 | Датчик необходимо срочно заменить |
Визуальный осмотр и чистка расходомера воздуха
Если у вас нет под рукой сканера или соответствующего ПО для диагностики состояния датчика массового расхода воздуха, следует выполнить его визуальный осмотр с целью выявления неисправности расходомера воздуха. Дело в том, что нередки ситуации, когда в его корпус попадает грязь, масло или другие технологические жидкости. Результатом этого становятся погрешности в выдаваемых устройством данных.
Для визуального осмотра первым делом необходимо демонтировать расходомер. В каждой модели машины могут быть свои нюансы, однако в целом же алгоритм будет приблизительно следующим:
- Выключить зажигание автомобиля.
- С помощью гаечного ключа (как правило, на 10) отсоединить воздушный шланг, по которому к нему подходит воздух.
- Отключить от датчика перечисленные в предыдущем пункте провода..
- Аккуратно демонтировать датчик, не потеряв при этом уплотнительное кольцо.
Далее необходимо провести визуальный осмотр. В частности, нужно удостовериться, что все видимые контакты находятся в нормальном состоянии, не оборваны и не окислены. Также проверьте наличие пыли, мусора и технологических жидкостей как внутри корпуса, так и непосредственно на чувствительном элементе. Их наличие может вызвать погрешности в транслируемых показаниях.
Соответственно, при выявлении указанных загрязнений нужно выполнить чистку корпуса и чувствительного элемента. Для этого лучше всего использовать воздушный компрессор и ветошь (за исключением плёночного расходомера, его чистить или продувать сжатым воздухом нельзя).
Хорошо подходит для этой цели спирт (этиловый или метиловый), но лучше использовать специализированные очистители ДМРВ. Их состав не разъедает чувствительный элемент датчика. Если используете спирт, то можно набрать его в шприц и под небольшим давлением облить расходомер. С профессиональными спреями все проще — просто откройте крышку балончика и распылите по всей поверхности датчика. После этого ДМРВ должен просохнуть — оставьте его на проветриваемом месте где-то на 20-30 минут.
Итоги
Напоследок дадим еще несколько советов по поводу того, как продлить срок эксплуатации расходомера воздуха. Во-первых, регулярно меняйте воздушный фильтр. В противном случае датчик будет перегреваться и выдавать некорректные данные. Во-вторых, не допускайте общего перегрева мотора и следите за тем, чтобы система его охлаждения работала в штатном режиме. В-третьих, в случае очистки расходомера воздуха выполняйте эту процедуру аккуратно. К сожалению, большинство современных ДМРВ не подлежат ремонту, поэтому при их полном или частичном выходе из строя нужно производить соответствующую замену.