Детали и узлы:
- 1. 20 Нм и довернуть на 1/4 об. (90°), заменить, для откручивания и затяжки использовать фиксатор распредвалов -T10016-;
- 2. Шкив распредвала, устанавливать в надлежащее положение при установке зубчатого ремня;
- 3. Манжетное уплотнение, заменять только при установленном распредвале, слегка смазать маслом рабочую кромку манжетного уплотнения, замена;
- 4. Зубчатый ремень передачи между валами, перед снятием пометить направление вращения, проверить степень износа, не перегибать, снятие, установка и натяжение;
- 5. Корпус распредвалов, снятие и установка, удалить остатки герметика, привалочные поверхности тщательно очистить, на них не должно быть масла и смазки, перед установкой нанести герметик -D 154 103 A1-, устанавливать вертикально сверху на шпильки и штифты;
- 6. Маслозаливная горловина, при наличии повреждений заменить, разборка и сборка, снятие и установка;
- 7. 10 Нм и довернуть на 1/4 об. (90°), заменить, затягивать, переходя от внутренних к наружным;
- 8. Крышка
- 9. 10 Нм
- 10. Роликовое коромысло, проверить подшипники роликов на легкость вращения, смазать рабочую поверхность маслом, при установке закрепить на опоре зажимом;
- 11. Сухари
- 12. Крышка
- 13. 20 Нм
- 14. Проушина
- 15. Обратный клапан, 6 Нм, не перетягивать, в противном случае клапан может заедать, очистить резьбу, перед установкой нанести на резьбу герметик -D 154 102 A1-;
- 16. Опорный элемент, не менять местами, с гидрокомпенсатором, смазать рабочую поверхность маслом, перед установкой проверить осевой люфт распредвала;
- 17. Тарелка пружины клапана
- 18. Пружина клапана, снятие и установка при снятой ГБЦ с помощью приспособления для замены пружин клапанов -3362-, при установленной ГБЦ;
- 19. Маслосъёмный колпачок, замена;
- 20. Направляющая втулка клапана, ремонтная, с буртиком;
- 21. Направляющая втулка клапана, проверка;
- 22. Датчик давления масла -F1-, 25 Нм, проверка, при негерметичности разрезать и заменить уплотнительное кольцо;
- 23. Клапаны, обработке не подлежат, допускается только притирка, Размеры клапанов;
- 24. Головка блока цилиндров, обработка сёдел клапанов. Обработка привалочных поверхностей;
- 25. 20 Нм
- 26. Натяжной ролик привода между валами, проверка, натяжка зубчатого ремня;
- 27. резьбовая пробка, устанавливать на герметик -D 154 102 A1-, не вкручивать слишком глубоко, макс. допустимая глубина от привалочной плоскости корпуса распредвалов: 2 мм;
- 28. Распределительные валы, Проверка осевого зазора, перед установкой смазать маслом (в т.ч. заплечики упорных подшипников), после сборки заменить манжетные уплотнения, замена манжетных уплотнений;
- 29. Уплотнительное кольцо, заменить.
Фиксация шкивов обоих распредвалов с помощью фиксатора T10016:
- Установить фиксатор обоими штифтами через специальные отверстия шкивов в центровочные отверстия корпуса распредвалов до упора;
Оба штифта фиксатора вставлены правильно, если вершины их головок -D- находятся на линии -A-.
- Сдвинуть держатель -B- до прилегания к шкиву распредвала впускных клапанов -C-;
- Если шкивы обоих распредвалов зафиксированы в центровочных отверстиях, болты этих шкивов можно ослаблять или затягивать.
Обработка привалочных поверхностей ГБЦ
Высота ГБЦ после обработки: a = не менее 108,25 мм.
В случае обработки привалочной поверхности ГБЦ посадка клапанов должна быть увеличена на соответствующий размер (обработать сёдла клапанов). Иначе клапаны будут ударяться о поршни. При обработке не превышать допустимый припуск.
Проверка осевого люфта распредвала
Необходимые специальные приспособления, контрольные и измерительные приборы, а также вспомогательные средства:
- Универсальный штатив индикатора часового типа -VW 387-;
- Индикатор часового типа.
Проводить измерения при снятом корпусе распредвалов и установленной крышке распредвала. Предельно допустимая величина: максимум 0,40 мм.
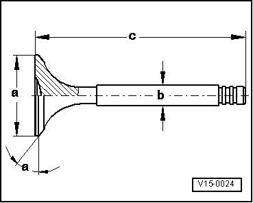
Размеры клапанов
Клапаны не подлежат механической обработке. Допускается только притирка.
| Размер | Впускной клапан | Выпускной клапан |
|---|---|---|
| a, мм | 29,5 | 26,0 |
| b, мм | 5,973 | 5,953 |
| c, мм | 100,9 | 100,5 |
| a° | 45 | 45 |
Комментарии
1k
Вакансия автора, копирайтера на Etlib.ru
Если вы специалист в тематике, хотите писать и хорошо зарабатывать на этом, то добро пожаловать в команду! Платим выше рынка.
Смотрите также
Не нашли ответ на свой вопрос?
Спрашивайте в комментариях. Ответим обязательно!
Популярные инструкции
по ремонту
-
Вскрытие дверей Шкода Октавия
-
Амортизаторы на Шкоду Октавия
-
Схема предохранителей Шкода Октавия
-
Как слить антифриз на Шкоде Октавия?
-
Замена топливного фильтра на Skoda Octavia
-
Замена ШРУСов Skoda Octavia A4 Tour
-
Замена корректора фары на Шкода Октавия А4 Тур
-
Замена заднего амортизатора на Шкода Октавия
-
Сброс сервисного интервала на Шкода Октавия Тур





Износ маслосъемных колпачков
Почему прогорают клапана
Как проверить клапаны, не снимая головку блока цилиндров
Очиститель клапанов
Притирка клапанов
Герметик клапанной крышки и ГБЦ
Гнет ли клапана?
Нагар на клапанах
Вскрытие дверей Шкода Октавия
Амортизаторы на Шкоду Октавия
Замена топливного фильтра на Skoda Octavia
Замена ШРУСов Skoda Octavia A4 Tour
Замена корректора фары на Шкода Октавия А4 Тур
Замена заднего амортизатора на Шкода Октавия
Сброс сервисного интервала на Шкода Октавия Тур