Процедура ремонта приводного вала:
- Заправка высокотемпературной смазкой -G 052 133 A2-: внешний синхронизирующий шарнир: 90 грамм, внутренний синхронизирующий шарнир: 120 грамм;
- Заправка внешнего шарнира: половина объема смазки вдавить в шарнир, другую половину равномерно распределить в манжете;
- Заправка внешнего шарнира: половина объема смазки вдавить в шарнир, другую половину равномерно распределить в манжете;
- При замене пыльника, при необходимости дополнительно смазать шарнир.
- 1 - Стопорное кольцо, заменить, снятие и установка с помощью клещей для распорных колец -VW 161 A-;
- 2 - Уплотнение, заменить, снять защитную пленку и наклеить на шарнир, только на синхронизирующих ;шарнирах с 100 мм
- 3 - Синхронизирующий шарнир внутренний 100 мм, для автомобилей с мощностью 66 кВт и более, для автомобилей 16V другой материал. Заменять только в сборе, снятие, напрессовка, смазка, проверка, с 08.89 также для автомобилей свыше 62 кВт;
- 4 - Синхронизирующий шарнир внутренний 94 мм, для автомобилей с мощностью до 65 кВт, заменять только в сборе, снятие, напрессовка, смазка, проверка;
- 5 - Тарелка пружины, на внутреннем ? зубцы, установочное положение: большая ? (вогнутая сторона) прилегает к ШРУСу;
- 6 - Пыльник ШРУСа ? 100 мм, с вентиляционным отверстием, проверить на наличие трещин и мест истираний, установочное положение для левого вала, установочное положение для правого вала, смазать уплотняющую поверхность колпачка герметиком -D 454 300 A2-, снимается при помощи выколотки;
- 7 - Пыльник ШРУСа ? 94 мм, проверить на наличие трещин и мест истираний, снимается при помощи выколотки;
- 8 - Зажим, заменить, затянуть;
- 9 - Шланговый зажим, заменить, замкнутые металлические кольца отпилить ножовкой, затянуть, с 01.90 изменен;
- 10 - Пыльник ШРУСа ? 90 мм, проверить на наличие трещин и мест истираний, перед затяжкой малого шлангового зажима кратковременно обеспечить доступ воздуха в пыльник для выравнивания давления;
- 11 - Пыльник ШРУСа ? 81 мм, проверить на наличие трещин и мест истираний, перед затяжкой малого шлангового зажима кратковременно обеспечить доступ воздуха в пыльник для выравнивания давления, с 01.90 изменен;
- 12 - ШРУС внешний ? 90 мм, для автомобилей с мощностью 66 кВт и более, для автомобилей 16V другой материал, изменение: с 08.87 прилегающий буртик для ступичного подшипника изменен, заменять только в сборе, снятие. Установить: при помощи пластмассового молотка насадить на вал, до момента, когда спружинит стопорное кольцо, смазка, проверка;
- 13 - ШРУС внешний ? 81мм, для автомобилей с мощностью до 65 кВт. Изменение: с 08.87 прилегающий буртик для ступичного подшипника изменен, заменять только в сборе, снятие. Установить: при помощи пластмассового молотка насадить на вал, до момента, когда спружинит стопорное кольцо, смазка, проверка;
- 14 - Стопорное кольцо, заменить, установить в канавку вала;
- 15 - Упорное кольцо
- 16 - Тарелка пружины, большая ? (вогнутая сторона) прилегает к упорному кольцу;
- 17 - Приводной вал, для автомобилей мощностью 66 кВт и более. Зубчатое зацепление для ШРУС на 4 мм длиннее в сравнении с валами а/м с низкой моторизацией, измеряемое от места прилегания упругой шайбы до канавки стопорного кольца, длина вала, с 08.89 устанавливается также в автомобилях от 62 кВт;
- 18 - Приводной вал, для автомобилей с мощностью до 65 кВт, длина вала, с 08.89 устанавливается в автомобилях до 59 кВт;
- 19 - Инерционный демпфер (из двух частей), устанавливается на правом вале в автомобилях с двигателями от 51 Квт и автомобилях с дизельным двигателем, снятие и установка, монтажное положение;
- 20 - Инерционный демпфер (цельный), устанавливается с 04.88 (серийно), используется в качестве запасной детали, монтажное положение.
Снятие и установка инерционного демпфера на правом приводном вале.
Демпфер состоит из двух получаш. Обе получаши соединены друг с другом посредством зажимных втулок -стрелка-.
Монтажное положение:
- Перед вбиванием зажимных втулок защитить лаковое покрытие вала от повреждений;
- Во избежание осевого смещения покрыть внутренний диаметр изолентой. Перед повторным использованием демпфера проверить изоленту на способность к прилипанию. При необходимости заменить изоленту или применить другой клеящий материал.
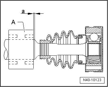
Монтажное положение инерционного демпфера.
(Для приводных валов с пыльником без вентиляционного отверстия).
Инерционный демпфер -А- необходимо устанавливать в надлежащее монтажное положение. Для этого нужно выдержать размер a = 4 мм, измеряемый от конической части вала до тела демпфера.
Монтажное положение инерционного демпфера.
(Для приводных валов с вентилируемым пыльником).
Инерционный демпфер -А- необходимо устанавливать в надлежащее монтажное положение. Дл этого нужно выдержать размер a = 478 мм.
ШРУС с измененным прилегающим буртиком.
С 08.87 размер a = 53 мм.
До 08.87 размер a = 50 мм.
Приводной вал/ШРУС внешний прежнего исполнения (малый прилегающий буртик) нельзя устанавливать в автомобили с модельного года 1988, поскольку площадь прилегания ШРУСа к ступичному подшипнику в этом случае слишком мала.
Приводной вал/ШРУС внешний прежнего исполнения после использования удаляется.
Снятие внешнего шарнира:
- Сбить шарнир с приводного вала сильным ударом молотка из легкого металла;
Снятие внутреннего шарнира:
- При выпрессовке обойма ШРУСа должна иметь опору.
Установка внутреннего ШРУСа.
- Напрессовать шарнир до упора Установить стопорное кольцо.
Установка пыльника на левом приводном вале:
- Автомобили с мощностью 66 кВт и более: размер a = 17 мм; перед монтажом пыльника отметить на приводном вале, например, краской или изолентой. Ни в коем случае не повредить лакировку острым предметом.
Установка пыльника на правом приводном вале:
- Автомобили с мощностью 66 кВт и более. Максимальный диаметр вентиляционной камеры -A- при насадке должен находиться на максимальном диаметре трубки.
-В- = вентиляционное отверстие.
Вентиляция пыльника шарнира.
Часто при установке на корпус шарнира пыльник вдавливают. В результате в пыльнике возникает разрежение, которое при движении вызывает образование складки -стрелка-. Поэтому после монтажа обеспечить кратковременный доступ воздуха в пыльник в зоне меньшего диаметра для выравнивания давления.
Зажатие шлангового хомута и зажима клещами для шланговых хомутов -V.A.G 1275-.
Измененный пыльник и шланговый хомут:
- Установить зажимные клещи -V.A.G 1682- так, как показано на рисунке. При этом проследить за тем, чтобы обжимные кромки клещей прилегали к основанию выступа -стрелки B- хомута;
- Обжать хомут, повернув ходовой винт -A- динамометрическим ключом (удерживать клещи от перекоса);
- Инструкция. Шланговый хомут зажимать только при помощи зажимных клещей -V.A.G 1682-;
- Момент затяжки: 25 Нм;
- Использовать динамометрический ключ с диапазоном 5...50 Нм (например -V.A.G 1331-);
- Следить за тем, чтобы резьба винта зажима клещей обладала достаточной легкостью хода. В случае необходимости нанести смазку на основе MoS2;
- При тяжелом ходе, например, из-за загрязнения резьбы, не достигается необходимое зажимное усилие хомута предписанным моментом затяжки;
- Зажатие шлангового хомута на малом диаметре манжеты осуществляется каким же образом.
Длина вала:
- Коробка передач Длина размера -a- (мм)(слева, справа);
- Механическая КП 020 и 02A - (443, 677,2) лев. сплошной валправ. полый вал;
- Механическая КП 084 и 085 - (465, 677,2) лев. сплошной валправ. полый вал;
- Автоматическая КП - (443, 677,2) лев. сплошной валправ. полый вал;
- Golf syncro механическая КП 009 и 02C передняя ось задняя ось (443;543,6 | 513,5;404,5) лев./прав. сплошной валлев./прав. сплошной вал;
- Приводные валы автомобилей GTI/GLI имеют удлинненное на 4 мм зацепление от шлицевого конца упругой шайбы до канавки стопорного кольца.
-
Разборка МКПП 020, 5ст. Volkswagen Golf 2 / Jetta 2
-
Замена ГРМ на Фольксваген Джетта 1,6
-
Почему нет напряжения на возбуждение генератора?
-
Изготовление светодиодных задних фар на VW Jetta
-
Замена сальника трамблера на Фольсваген с двигателем PL, KR
-
Замена фильтра салона Volkswagen Jetta
-
Как удалить воздух из системы охлаждения?
-
Заклинило вал переключения передач на задней скорости Джетта 2
-
Как выставить зажигание после разборки двигателя 1,6, Фольксваген Джетта














Разборка МКПП 020, 5ст. Volkswagen Golf 2 / Jetta 2
Изготовление светодиодных задних фар на VW Jetta
Замена сальника трамблера на Фольсваген с двигателем PL, KR
Замена фильтра салона Volkswagen Jetta